常用磨床和磨床夹具
一、常用磨床
1.M1432B型万能外圆磨床简介
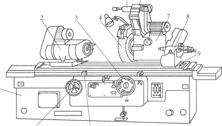
M1432B型万能外圆磨床的结构如图19所示。
(1)主要部件及其功用
1)床身:支承磨床。
2)头架:安装与夹持工件,带动工件旋转,可在水平面内逆时针转90度。
3)横向进给手轮:旋转手轮控制砂轮架前进或后退。

图19 M1432B型万能外圆磨床的结构
1-床身;2-头架;3-横向进给手轮;4-砂轮;5-内圆磨具;6-内圆磨头;7-砂轮架;8-尾座;9-工作台;10-挡块;11-纵向进给手轮
4)砂轮:切削刀具,切削时作高速旋转运动。
5)内圆磨具:工作时带动内孔砂轮旋转,磨削内孔。
6)内圆磨头:支承磨内孔的砂轮主轴。
7)砂轮架:支承并传动砂轮主轴旋转,可在水平面小范围内转动。
8)尾座:与头架一起支承工件。
9)工作台:
①上工作台,上面装有头架与尾座;
②下工作台I上工作台可绕下工作台上安装的定位销在水平面内滑动旋转±100。
10)挡块:通过抵挡行程开关,控制工作台左、右运动的位置。
11)纵向进给手轮:旋转手轮,控制工作台的左、右移动。
(2)主运动与进给运动
1)主运动:磨削外圆时为砂轮的回转运动,磨削内圆时为内圆磨头磨具(砂轮)的回转运动。
2)进给运动:
①工件的圆周进给运动,即头架主轴的回转运动;
②工作台的纵向进给运动,由液压传动实现;
③砂轮架的横向进给运动,为步进运动,即每当工作台一个纵向往复运动终了时,由机械传动机构使砂轮架横向移动一个位移量(控制磨削深度)。
2.M7120D型平面磨床
(1)主要部件及其功用
1)磨头:工作时带动砂轮旋转。
2)床鞍:支承砂轮主轴
3)横向手轮:旋转手轮控制床鞍前进或后退。
4)修整器:修整砂轮的工具。
5)立柱:支承体。
6)撞块:通过抵挡行程开关,控制工作台左、右运动的位置。
7)工作台:吸盘或磨削工件的载体。
8)升降手轮:旋转控制床鞍和砂轮及主轴的升降。
9)床身:支承磨床。
10)纵向手轮:旋转手轮控制工作台的左、右移动。
(2)主运动与进给运动
1)主运动:磨头主轴上砂轮的回转运动。
2)进给运动:
①工作台的纵向进给运动;
②砂轮的横向进给运动;
③砂轮的垂直进给运动。
二、磨床夹具

图20 M7120D型
平面磨床的结构
1-磨头;2-床鞍;3-横向手轮;4-修整器;5-立柱;6-撞块;7-工作台;8-升降手轮;9-床身;10-纵向手轮
1.顶尖和夹头
顶尖是外圆磨床常用的用于轴类工件定位的工具之一,顶尖和夹头通常配套使用,夹头夹持工件,在夹头拨盘拨杆的驱动下带动工件旋转,是用于磨削各种轴类零件时最常用且精度较高的装夹方法。顶尖有高速钢顶尖和镶硬质合金顶尖,前者常用于一般硬度的工件,后者常用于淬火后的工件。在单件生产时,夹头一般选用商品鸡心夹头,在批量生产中,往往根据工件被夹持部位的尺寸设计成专用夹头,这样使用起来更快捷。
顶尖的柄部为莫氏锥体,顶尖尺寸用莫氏锥度表示,如Morse No.3顶尖等。
2.心轴
心轴常用于在外圆磨床上磨削盘类和套筒类工件的外圆_及端面,以保证工件外圆与内孔的同轴度及与端面的垂直度要求。
(1)锥度心轴心轴的锥度根据定位精度要求的不同,锥度的使用范围一般在l:3000-l:8000,根据磨削工件的精度需要而定。心轴外圆与工件内孔的配合程度以能克服磨削力为宜,不宜过紧而使工件变形。当工件的内孔公差带较宽时,心轴可做成几根为一组,供选配使用。心轴的外圆对中心孔的圆跳动公差一般取为0.001-0.05mm,视磨削工件的精度需要而定。心轴的材料一般为低碳合金钢,热处理渗碳淬火。锥度心轴通常用于单件或者小批量生产,如图21所示。
对于较大批量的生产,应对孔的实际尺寸测量后进行分组,分批加工,以保证工件在心轴上的位置相对稳定在一定的范围内,避免出现左右窜动太大,超出已调整好的工作台行程。
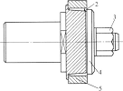
(2)锥度胀胎心轴 锥度胀胎心轴在批量生产中广泛使用。利用心轴上的锥度使可胀套2受螺母3和压圈4的轴向力向径向胀出而胀紧工件5,如图22所示。
(3)两端锥度胀胎心轴对于内孔较长的工件可采用两端锥度胀胎心轴,其两端的胀紧力相对均匀,可使工件两端都能被胀紧。工件4装在心轴上靠紧心轴端面A后再夹紧,压圈5与心轴7无间隙滑动配合,圆柱销1用来限制可胀套3的转动,如图2.2—23所示。

图22锥度胀胎心轴
1-砂轮;2-可胀套;3-螺母; 4-压圈;5-工件
(4)液压胀胎心轴 在其内腔灌满凡士林油或其他矿物油,当活塞推进时,油料受压力而将胀套外胀,从而胀紧工件,如图24所示。
3.中心孔柱塞
对于两端空心的轴类工件,孔径较大或孔口未作为定位基准加工的零件,通常采用装上

图23两端锥度胀胎心轴
1-圆柱销;2-砂轮;3-可胀套;4-工件; 5-压圈;6-螺母;7-心轴

图24液压胀胎心轴
中心柱塞使其能够采用顶尖装夹进行磨削加工。
中心孔柱塞有带肩和不带肩的两种,如图25所示。
4.弹簧夹头
弹簧夹头属于机床附件,通常用于外圆磨床和万能磨床。
5.卡盘和花盘
自定心卡盘、单动卡盘和花盘都属于机床附件,通常用于外圆磨床和万能磨床。
6.磁力吸盘和磁力过渡块
磁力吸盘和磁力过渡块为


图25中心孔柱塞 a)不带肩b)带肩
磨床常用夹具,特别在平面磨床上使用更为广泛。
磁力吸盘按外形可分为圆形和矩形两类,按磁力源分为电磁和永磁两类,按用途可分为通用、专用、正弦和多功能四类。
1)通用圆形电磁吸盘用于外圆和万能磨床。在圆台平面磨床上,其工作台多为圆形电磁吸盘。
2)通用矩形电磁吸盘常为矩台
平面磨床的工作台。
3)正弦永磁吸盘常用于矩台平面磨床。吸盘底部由正弦规组成。
4)磁力过渡块的作用是将磁力吸盘的磁力线N极引向过渡块,再经过放在磁力吸盘上(或贴靠过渡块)的工件及过渡块,使磁力线回到吸盘的s极,形成一次磁力回路将工件吸住。为满足各种形状的工件需要,磁力过渡块还可以设计成各种形状以满足工件的需要。磁力过渡块扩大了磁力吸盘的使用范围。
7.精密机用虎钳
精密机用虎钳通常用于矩台平面磨床,还可与正弦永磁吸盘组合使用。常用的精密机用虎钳的钳口宽度有50mm、75mm、100mm.三种。
数控磨床夹具,根据不同零件,以及使用者的经验和工艺水平,种类也有所不同。不再赘述。